TEST POINT (TFTP20)

  • Plastic cap retainer.
  • DZR Brass body.
  • EPDM diaghragm/core.
  • Strategically placed test points allow access to live fluid systems for pressure and temperature measurement.
Category :
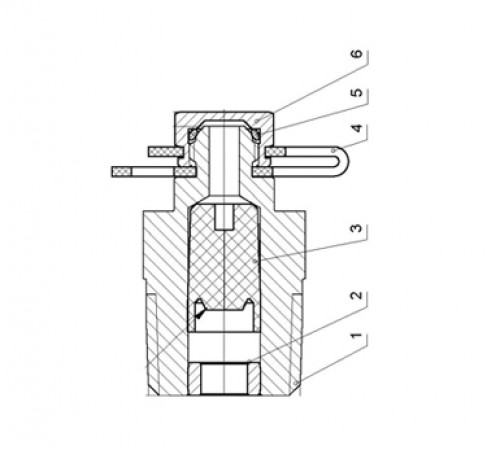
Part No Part Name Material
1 BODY ½ TIFT DZR BASS CZD2A
2 CORE RETAINER DZR BRASS CZ132A
3 CORE EP 5518F (HA55+5)
4 STRAP PLASTIC
5 O- RING EPDM (HA70+5)
6 CAP DZR BRASS CZ132A

PRESSURE / TEMPERATURE RATING

Pressure Rating 24 bar
Temperature -10 to 120 OC

TEST PRESSURES

Shell 24 bar

SPECIFICATION

  • The single piece DZR houses a uniquely designed elastomeric core, providing excellent sealing performance and wear resistance.
  • Double sealing on the cap is provided by precision metal to metal jointing backed up by a resilient O- Ring, allowing convenient, positive finger tightening.

DIMENSIONS & WEIGHTS

Size A H Weight (kg)
1/4%3/8” 36MM 14MM 0.05
1/2” 39MM 22MM 0.09